首  页 公司简介 润滑系统介绍 产品展示 企业荣誉 在线留言 营销网络 联系方式
(电动、多点、单线、气动)润滑泵
(单线、多点、电动、机动)干油泵
电动(手动)加油泵
手动(脚踏)润滑泵
操纵阀/换向阀/控制器
过滤器/喷射阀/压差开关
双线(单线递进)分配器
稀油站/滤油器/信号器/指示器/齿轮油泵
单向阀/安全阀/冷却器/滤油车/磁过滤器
干油电气控制箱
管接头/管夹/高压法兰
油气混合器/油气分配器
油气站
板式换热器密封垫
注油器
公司地址:江苏省启东市灵峰路8
联系电话:0513-888
传  真:0513-888
销售热线:888 陆先生
中文域名:润滑液压设备.中国
      润滑液压设备.cn
网  址: WWW.KKRH.CN
邮  箱: 777@163.com
  产品展示  
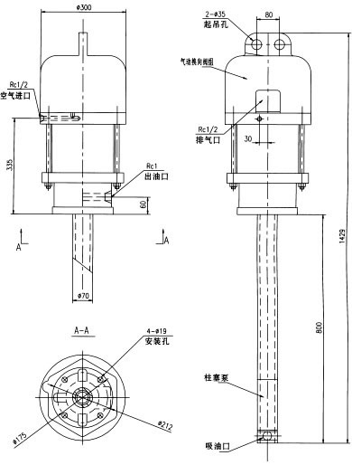
AP-840B型气动补脂泵(20MPa)


一、应用范围
适用于大型干油集中润滑系统中,作为向众多润滑泵站贮油器内采用集中充脂装置的供油设置。该泵输出压力高、流量大,扩大了集中充填补脂的范围,也大大缩短了补脂所需用的时间。

二、技术参数

型号
公称压力MPa
给油量mL/循环
进气压力Mpa
压力比
重量kg
AP-840B
20
150
0.5-0.7
40:1
42

适用介质为针入度265~385(25℃,150g)1/10mm的润滑脂(NLGI0#~2#),和粘度等级大于N68的润滑油;适用环境温度-20℃~80℃。

   

三、使用要领
1、以托架(用户自备)作支承,用四只M16的螺栓把气动泵固定在托架上,柱塞泵管垂直插入贮油箱的油脂中。
2、进气管路上必须配接气源处理处理三大件(过滤、减压、油雾器),目的是使气动泵能获得洁将、稳压、带油雾状的压缩空气。
3、所使用的介质必须在规定范围内。
4、气动泵出油口处必须配接单向阀。
5、建议供气量调定在泵工作频率不超过20次/min为宜。
6、使用2#油脂时建议油箱内加设压油盘,以免因润滑脂流动性差而使泵产生吸空。
7、排气口配接消声器(用户自备,接口Rc1/2)。

四、订货说明
根据用户使用工况特殊需要,还可进行缩短或加长泵管长度以及吸油口采用法兰连接的非标设计供货,订货时另行注明。


五、外形尺寸

版权所有:启海东盛开开冶金备件制造厂 联系电话:0513-88888888 传  真:0513-666
公司地址:江苏省启东市灵峰路 网址:WWW.KKRH.CN
海晟光学 双佳绗缝 鸿祥废旧金属回收 南通网站制作 民升百城国际旅行社 海安废品回收 英思特半导体 传安工业皮带 嘉佑德建筑材料 万锋化工 亚太船舶 中丽地坪